Ram registra projeto de 1500 elétrica com três fileiras de bancos
Terceira fila seria composta por dois bancos dobráveis e móveis, que podem até ser colocados na caçamba
Quem já entrou em uma Ram 1500 sabe que há espaço de sobra na cabine. Logo, uma opção da picape com uma terceira fileira de assentos não parece algo impossível – apesar de causar estranheza pelo ineditismo de se levar tanta gente em uma picape. E é justamente isso que a Stellantis está planejando para a sua versão elétrica.
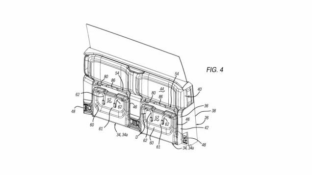
O site CaBuzz descobriu uma nova patente registrada nos EUA, onde um par de bancos são instalados na parede traseira da Ram 1500 REV. Eles ficam localizados logo atrás da segunda fileira e se dobram na parede quando não estão sendo utilizados. Além disso, eles podem ser facilmente retirados para liberar a passagem entre a caçamba e a cabine.





Quando retirados, eles podem ser colocados na porta da caçamba, quando ela estiver aberta, para que adultos possam se sentar ali com mais conforto e sem se sujar. Para quem gosta de acampamentos e atividades ao ar-livre, seria uma ótima opção.
Um detalhe é que as imagens retratam a versão conceito da 1500 REV. Isso é facilmente identificado pelos quatro bancos individuais. Ou seja, sem uma segunda fileira para três passageiros, sobraria mais espaço para os dois ocupantes da terceira fila.
Mas a versão de produção virá apenas com um banco convencional — para três pessoas — na segunda fileira, não sobrando muito espaço para dois adultos viajarem na terceira fileira confortavelmente.





A solução para esse problema, porém, ficou apenas no conceito. A 1500 elétrica de produção não tem os trilhos que permitem ao motorista não só mover os bancos, como também o próprio console central, dando muito mais liberdade na hora de definir o espaço de cada ocupante.
Por outro lado, Carlos Tavares, CEO da Stellantis, garantiu que todos os recursos mostrados no conceito estarão, em algum momento, disponíveis na 1500 REV. Ele só não definiu quando, ou seja, eles podem chegar junto com um facelift de meio de vida ou só na segunda geração. Isso também vale para a terceira fileira removível mostrada na patente.
A Ram 1500 elétrica estreia só no último trimestre com dois motores, sendo um em cada eixo. Ao todo, são 654 cv e 86,5 kgfm, que levam-na de 0 a 96 km/h em 4,4 s. Entre seus principais atributos, há amortecimento adaptativo nas quatro rodas, 40’’ de telas, head-up display e automação veicular de nível 2+.
BYD Dolphin 2027 é registrado no Brasil com novo design e sem tela giratória
Nova Toyota Hilux aparece em teaser e já tem data para estrear
Leapmotor estreia no Brasil com SUVs elétricos e híbridos mais baratos que BYD; veja preços
Honda HR-V 2026, a evolução da sofisticação
Leapmotor C10 REEV é elétrico com autonomia de híbrido por menos de R$ 200.000







